A drawing from H.N. Wadsworth's 1857 toothbrush patent. Wadsworth's toothbrush was the first to be patented in the U.S.
A drawing from H.N. Wadsworth's 1857 toothbrush patent. Wadsworth's toothbrush was the first to be patented in the U.S.
Patent 18,653/U.S. Patent and Trademark OfficeThere are some consumer products where every year brings new innovations. Computers get faster, cellphones get lighter, cars get new bells and whistles.
It's easy to imagine why inventors are drawn to redesigning these products รข" the technology for making them is changing all the time.
But what about consumer products that have been around for a long time? For the toothbrush, the answer is a resounding yes.
According to the U.S. Patent and Trademark Office website, as of Christmas Day there were 138 patents with the word toothbrush in the title issued this year. 138!
I talked with several of those patent holders about why they invented their toothbrushes, and they all said pretty much the same thing: Something was missing in the toothbrush universe.
"Cleaning the teeth is actually a pretty complex problem, and I think that's probably why there's been so much invention around it," says Tom Mintel, vice president of research and development in Colgate's global toothbrush division. He's not at all surprised there were so many toothbrush patents issued this year.
Brushing isn't like floor polishing. There are areas in the mouth in need of cleaning that have different shapes and funny angles. Teeth are hard, but gums are soft, so you can't brush both with the same vigor.
Mintel says one solution Colgate is pursuing is making toothbrushes smarter. The company just released an electric brush in the United Kingdom that has sensors in the handle that tell the toothbrush where it is in the mouth. "So instead of expecting consumers to switch between different speeds depending on what surface they're brushing, this brush does it automatically," he says.
Corporate giants aren't the only ones trying to build a better toothbrush. Michael Davidson, a dental hygienist in a suburb of Houston, says most new toothbrushes are designed for their looks, with fancy handles or different-colored bristles.
"I haven't really seen one that addresses how the user is using a brush in regards to the more effective brushing techniques," he says.
The most effective technique, says Davidson, requires holding the brush so the bristles are tilted at approximately a 45-degree angle down toward the gums. "So I just kind of sat down one day and said, 'If I were going to design a really, really good toothbrush, how would I do it?' "
A drawing from Michael Davidson's 2012 patent for "Toothbrush And Method Of Using The Same."
A drawing from Michael Davidson's 2012 patent for "Toothbrush And Method Of Using The Same."
Patent 8,108,962/U.S. Patent and Trademark OfficeHe figured instead of trying to teach people to tilt their hands to the right angle as they held the brush, he would tilt the bristles to the correct angle. That way all the brusher had to do was go back and forth. "It was idiotproof. I guess that would be the best way to say it," he says.
Davidson hopes to bring his toothbrush to the market by next June. (Click here and scroll down to see Davidson's patent.)
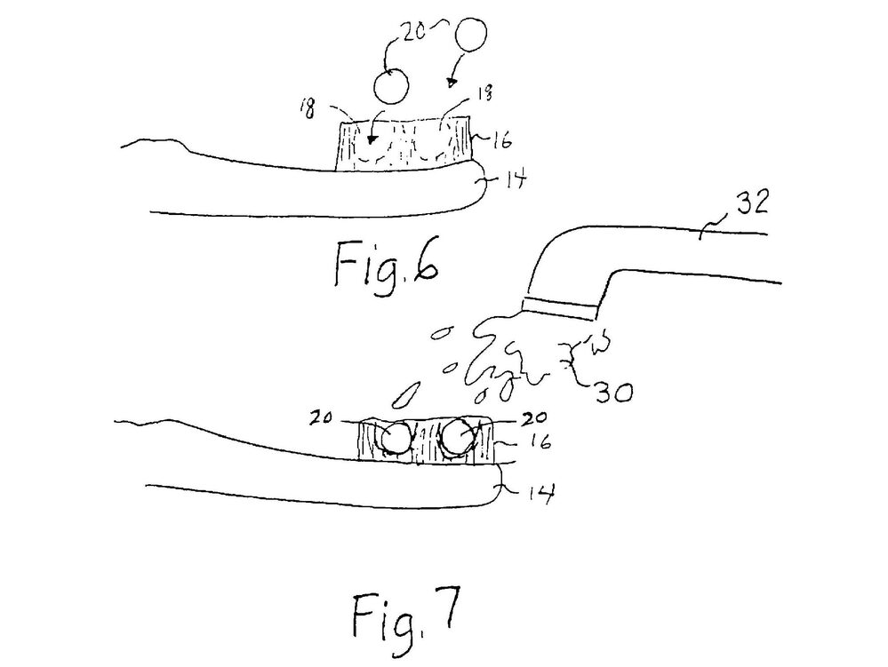
A drawing from Joshua Atkin's 2012 patent for "Dehydrated Dentifrice And Toothbrush."
A drawing from Joshua Atkin's 2012 patent for "Dehydrated Dentifrice And Toothbrush."
Patent 8,328,451/U.S. Patent and Trademark OfficeJoshua Atkin was spurred to his invention for a different reason. Today, Atkin is a dentist in Dayton, Ohio, but before entering the oral care world, he worked as a jazz saxophone player.
"I traveled a lot, and one of the most frequent things I would forget would be a toothbrush," he says. So Atkin invented a disposable, all-in-one toothbrush. (Click here and scroll down to see Atkin's patent.) It has a hollow handle that dispenses dried toothpaste pellets. "You put them on the brush head, run them underwater, and then you have a flavored toothpaste."
It's probably safe to say that very few schoolchildren grow up dreaming of becoming a toothbrush inventor. Colgate's Mintel certainly didn't.
"But I have to say it's been amazing to work on something that looks so simple, [but] really is a heck of a lot more complex than I think you would give it credit for at first glance, and is something that touches everybody," says Mintel.
Put that way, it sounds like a pretty noble calling.







